Современные методики и оборудование для определения механических свойств скальных грунтов и горных пород — ГеоИнфо — метапортал для инженеров
Реклама
  • Реклама, 0+. АО «Мостдоргеотрест» ИНН 7716750744
  • erid: 2vfnxwa1cem
Баннер МОСТДОРГЕОТРЕСТ правая колонка Баннер МОСТДОРГЕОТРЕСТ правая колонка
Реклама
  • Реклама, 0+. ООО «ИнжПроектСтрой» ИНН 5902163884
  • erid: 2vfnxvifrnd
Баннер MalininSoft правая колонка Баннер MalininSoft правая колонка

Современные методики и оборудование для определения механических свойств скальных грунтов и горных пород

Современные методики и оборудование для определения механических свойств скальных грунтов и горных пород
Озмидов Игорь Олегович
Озмидов Игорь Олегович

В статье рассказывается о трех основных методах определения предела прочности горных пород при одноосном растяжении/сжатии образцов. В связи с тем, что подобные испытания проводятся во все большем количестве, а сроки, отводящиеся на их выполнение, становятся все более сжатыми, автор предлагает применение метода, который заключается в разрушении образцов произвольной формы встречными сферическими инденторами. Для проведения испытаний в статье рекомендуется применение нового оборудования ПСН-0.16.10 и ПСН-1.14.10, разработанного специалистами ООО «ПрогрессГео».

В настоящее время испытания скальных грунтов и горных пород методом одноосного сжатия приобретают все большую важность в инженерно-геологических изысканиях. Во многих регионах нашей страны и за её пределами постоянно растет потребность в проведении большого количества качественных испытаний скального грунта, что, в свою очередь, требует применения новых методик и современного оборудования, позволяющих в кратчайшие сроки и с минимальными ресурсными и финансовыми затратами выполнять эти исследования без потери качества.

Методы испытаний

На сегодняшний день существует три основных метода определения предела прочности горных пород при одноосном растяжении/сжатии образцов. Они описаны в ГОСТ 21153.3-85 и ГОСТ 24941-81 [1, 2].

Первый метод заключается в определении предела прочности цилиндрических и призматических образцов прямым растяжением. Метод предназначен для получения показателя предела прочности породы по слабейшему поперечному сечению образца при одноосном растяжении в направлении его оси, заданном относительно сложения (слоистости) породы.

Сущность метода заключается в проведении испытаний цилиндрических или призматических образцов. Исследование сводится к измерению разрушающей силы при продольном растяжении образца через стальные обоймы загрузочного устройства.

Второй метод предполагает разрушение цилиндрических образцов сжатием по образующей. Он предназначен для массовых испытаний с целью определения предела прочности горной породы по определенному сечению образца при одноосном растяжении в направлении, заданном относительно сложения (слоистости) породы.

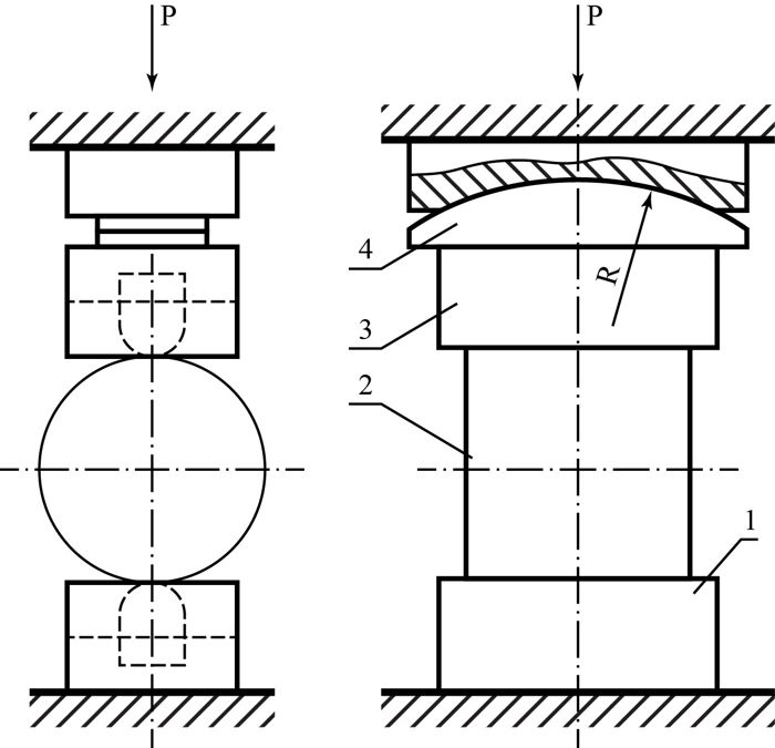
Сущность метода заключается в проведении испытаний цилиндрических образцов. При испытании измеряются значения разрушающей силы, приложенной через стальные встречно направленные плиты или клинья нагрузочного устройства к образующим образца на его диаметральном сечении, ориентированном заданным способом относительно сложения (слоистости) породы. Схема нагружения представлена на рисунке 1.

Рис. 1. Схема нагружения образца. 1 — нижняя плита (нижний клин); 2 — образец; 3 — верхняя плита (верхний клин); 4 – сегмент

Третий метод заключается в разрушении образцов произвольной формы встречными сферическими инденторами. Метод предназначен для исследовательских и массовых испытаний горных пород в лабораторных и полевых условиях с целью определения предела прочности при одноосном растяжении в направлении, перпендикулярном к слабейшему сечению, проходящему через ось нагружения образца.

Сущность метода заключается в измерении разрушающей силы, приложенной к образцу через стальные встречно направленные сферические инденторы. Схема нагружения представлена на рисунке 2 [2].

Рис. 2. Схема нагружения образца. 1 — корпус; 2 — нижний шток; 3 — вкладыш; 4 -индентор; 5 — верхний шток

Наибольший интерес представляет третий метод испытания скальных грунтов (горных пород), поскольку он имеет ряд преимуществ относительно первых двух в условиях массовых испытаний. Основным его преимуществом является высокая скорость выполнения работ, т.к. метод позволяет испытывать образцы произвольной формы, не требуя предварительной подготовки грунта, что, как правило, и занимает большую часть времени в испытании. Кроме того, подготовка образца грунта для испытаний по первым двум методам требует дополнительных площадей и обеспечения специальных условий труда, связанных с очисткой рабочего пространства от мусора и пыли, что весьма трудно, а иногда и невозможно организовать в лабораторных условиях.

Проведение испытания по третьему методу проводится в три этапа:1. Образец устанавливается между инденторами таким образом, чтобы ось нагружения образца была ориентирована относительно строения (слоистости) породы в соответствии с заданным направлением растяжения породы.2. Образец равномерно нагружается до разрушения со скоростью 0,1-0,5 кН/с.3. Затем определяется величина площади поверхности разрыва образцов в см2 с погрешностью до 0,10 см2.

Предел прочности при одноосном растяжении (σp, МПа) каждого образца вычисляется по формуле:

Рис. 3. Прибор для испытания скальных грунтов по ГОСТ 21153.3-85 «ПСН-0.16.10»

Табл. 2. Технические характеристики прибора для испытания скальных грунтов

Привод гидравлический

Максимальная осевая нагрузка

100 кН

Погрешность измерений

+/- 0,5 кН

Максимальное рабочее давление

200 бар

Рабочий ход поршня

110 мм

Габариты образца

100х100х100 мм

Габариты прибора ДхШхВ

520х490х680 мм

Масса прибора в сборе

55 кг

Прибор ПСН-0.16.10 комплектуется программным обеспечением, позволяющим проводить автоматизированную обработку результатов опыта, включая автоматический расчет площади скола образцов по отсканированной проекции поверхности скола. Обработка происходит по алгоритму, описанному выше, в соответствии с ГОСТ 21153.3-85 и ГОСТ 24941-81.

Все эти преимущества позволяют значительно повысить скорость проведения испытаний, уменьшить погрешность результатов, а также получить отличные эксплуатационные качества и максимальную экономическую отдачу.

Рис. 4. Результаты обработки данных в соответствии с ГОСТ 21153.3-85 и ГОСТ 24941?81 на программном обеспечении PG-TEST «ПрогрессГео»

Также существуют модификации приборов ПСН, оснащенные высокоточным датчиком перемещения и соответствующим контролером для выгрузки данных опыта в компьютерный интерфейс. Таким образом, данная модификация прибора (ПСН-1.14.10) позволяет проводить испытания не только для определения предела прочности горных пород, но и испытания на деформируемость.

Рис. 5. Прибор для испытания горных пород по ГОСТ 21153.3-85 и ГОСТ 24941?81 «ПСН-1.14.10»

Табл. 3. Технические характеристики прибора для испытания горных пород

Привод механико-гидравлический

Максимальная осевая нагрузка

100 кН

Погрешность измерений

+/- 0,5 кН

Максимальное рабочее давление

200 бар

Рабочий ход поршня

110 мм

Габариты образца

100х100х100 мм

Габариты ДхШхВ

520х490х680 мм

Масса прибора в сборе

60 кг

В качестве результатов испытания на деформируемость определяются статический контактный модуль остаточной деформации горной породы и статический контактный модуль упругости горной породы.

В тоже время, на приборе ПСН-1.14.10, оснащенном контроллером преобразования данных, имеется возможность выгрузки числовых значений измеряемых величин в режиме реального времени на протяжении всего опыта, что позволяет получить наиболее информативную и точную деформационную характеристику породы. Пример испытания представлен на рисунке 6.

Рис. 6. Результаты обработки данных эксперимента на программном обеспечении PG-TEST «ПрогрессГео»

В качестве дополнительного оборудования на приборах серии ПСН можно применять сменные плоские штампы (рис. 7), выполненные в соответствии с ГОСТ 21153.3-85 (см. рис. 1). Это, в свою очередь, позволяет проводить испытания в целях комплексного определения пределов прочности и одноосного растяжения/сжатия.

Рис. 7. Сменные плоские штампы (ГОСТ 21153.3-83)

Данный метод заключается в измерении разрушающей силы при многократном раскалывании образцов пластинчатой и брусчатой формы и определения предела прочности при сжатии, то есть в измерении разрушающей силы сжатия, полученной при раскалывании образцов кубообразной формы. Образец нагружают равномерно со скоростью 1-5 МПа/с до раскалывания сначала на бруски, затем по поперечным линиям на кубики полуправильной формы. Диски диаметром 40-60 мм раскалывают на четыре части. При каждом раскалывании образца записывают разрушающую силу в килоньютонах и среднюю длину линии раскола в сантиметрах, которую измеряют штангенциркулем с погрешностью не более ±0,05 см.

Предел прочности при одноосном растяжении (σкр) в МПа для каждого образца вычисляют по формуле

Рис. 8. География использования оборудования «ПрогрессГео» для испытания горных пород

Приборы ПСН внесены в Государственный реестр средств измерений.

Список литературы
  1. 1. ГОСТ 21153.3-85 «Породы горные. Методы определения предела прочности при одноосном растяжении»
  2. 2. ГОСТ 24941-81 «Породы горные. Методы определения механических свойств нагружением сферическими инденторами»
  3. 3. ГОСТ 12248-2010 «Грунты. Методы лабораторного определения характеристик прочности и деформируемости»
  4. 4. ASTM D5731-08 «Standard Test Method for Determination of the Point Load Strength Index of Rock and Application to Rock Strength Classifications»
  5. 5. Bulletin of Engineering Geology and the Environment. Volume 74. Number 3.August 2015
  6. ПСН
13 Июль 2017
Комментарии
Читайте также
НИКОЛАЙ ВОЛКОВ: Статика на мерзлоте – очень перспективный метод
Залог успешного проектирования – качественное первичное изучение территории
Как деградация строительной отрасли привела к массовым авариям на дамбах. Мнение проектировщика
Стрелка вверхнаверх
Удалить пост?
Пост будет удален полностью и его нельзя будет востановить
Закрыть
Ссылка скопирована Закрыть
Главная страница
Главная
Новости
Новости
Меню
Ещё
  • Поделиться
Поделиться
  • Скопировать ссылку